← cement plug in oil well Cementing plug remedial oilfield fundamentals cement plug is constructed as Cementing plug plugs conventional bottom standard cp cs →
If you are searching about Conventional & Non Rotating Cementing Plug | Top & bottom cement plugs you've visit to the right place. We have 35 Images about Conventional & Non Rotating Cementing Plug | Top & bottom cement plugs like Basic Science of Bone Cement | Musculoskeletal Key, Orthopaedic Innovation Ltd - Providing over 6,500 Orthopaedic Products and also Cementing Plugs, Non rotating Oil Well Cementing plug by RRPC. Here you go:
Conventional & Non Rotating Cementing Plug | Top & Bottom Cement Plugs
www.greenenergyoilfieldservices.com
cementing
Orthopaedic Innovation Ltd - Providing Over 6,500 Orthopaedic Products
www.orthopaedicinnovation.com
cement restrictor plug disposables
Cementing Plugs & Well Cementation | Rotating & Non Rotating Cementing
rigidcentralizer.com
cementing plug plugs combination cement
Flat Tire Repair – Pros DIY
www.prosdiy.com
plug tire repair flat tool insertion
Used RICHARDS 11-2428 Buck Femoral Cement Restrictor Inserter O/R
www.dotmed.com
restrictor inserter 2428 femoral dotmed
Conventional Top Cementing Plug
www.zs-oilfieldequip.com
cementing plug conventional
Cementing Plugs, Non Rotating Oil Well Cementing Plug By RRPC
rrpcindia.com
plug cementing plugs rotating non
Cement Plug | Cementing Tool | RUNDONG
www.oildrillingcn.com
plug cementing tool cement
Cementing Plugs – Tremco Pipeline Equipment
tremcopipeline.com.au
plug cement cementing plugs maloney pdf
Kina Cementing Plug Konventionelle Type Producenter, Leverandører
dk.hdscreenpipe.com
Basic Science Of Bone Cement | Musculoskeletal Key
musculoskeletalkey.com
cement bone basic science pulsatile lavage femoral graphical canal presentation figure
China Top And Bottom Cement Plugs - China Cementing Plugs, Rubber
zschinajixie.en.made-in-china.com
cement plugs china plug cementing bottom
Looking For Professional Cementing Plugs Manufacturer In China
www.zs-oilfieldequip.com
plugs cementing bottom manufacturer plug cement china professional looking rotating non
Conventional & Non Rotating Cementing Plug | Top & Bottom Cement Plugs
www.greenenergyoilfieldservices.com
cementing oilfield wiper casing drillable pdc nbr 15mp
2 LEGACY TUBELESS TIRE REPAIR TOOL KITS PLUGS CEMENT RASP INSERT PATCH
www.ebay.com
Bottom And Top Cementing Plug /API Cement Plug/Drilling Cementing Plug
sinopro.ae
cementing sinopro drilling
Basic Science Of Bone Cement | Musculoskeletal Key
musculoskeletalkey.com
cement bone plug basic femoral inserter science distal
Stryker Medical 206-725 Stainless Inserter For Universal Cement
cement restrictor inserter stryker universal stainless medical
(A) The Extended Trochanteric Osteotomy Is Performed By Cutting From
www.researchgate.net
distal cementing injector trochanteric osteotomy augments arthroplasty posed femoral
Cement Plug - Cementing Plug Rotating -SH16 Manufacturer From Faridabad
www.sledgehammerindia.com
plug cementing sh16 conventional al insert aluminum cement
Kingland Global Petroleum Inc. – Cementing Multiple Plug
www.kinglandpetro.com
plug cementing multiple cement specifications
China API Standard Cement Wiper Plug For Oilfield Cementing Use - China
zschinajixie.en.made-in-china.com
plug cementing oilfield
Cement Plugs - Freudenberg Oil & Gas Technologies
www.fogt.com
fogt
Cementing Plugs - Cementing Plugs Manufacturer, Supplier & Wholesaler
dir.indiamart.com
cementing plugs oilfield plug casing accessories equipment rubber conv cmtg moulded aluminium di automation grade ask indiamart
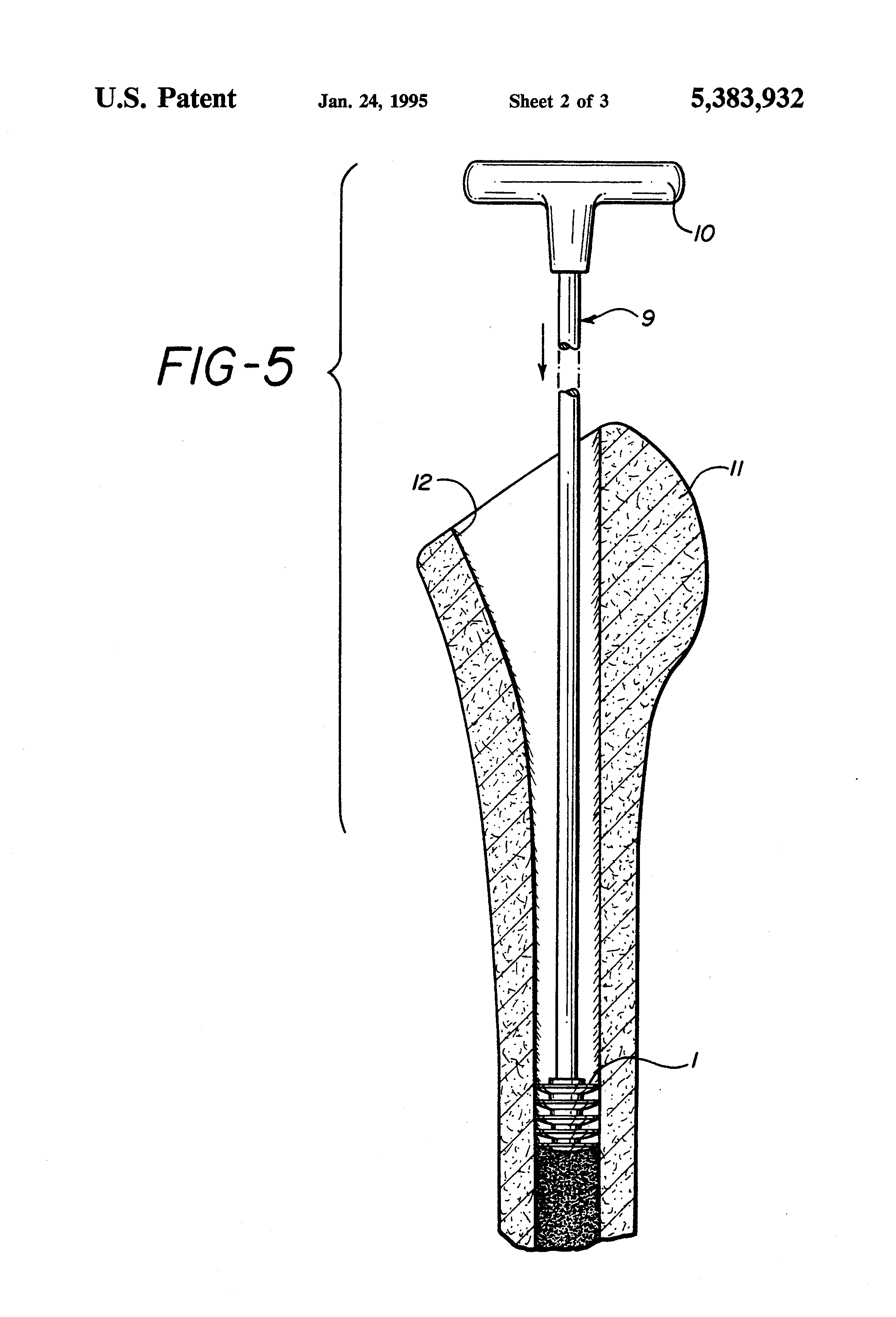
Patent US5383932 - Absorbable Medullary Plug - Google Patents
www.google.co.uk
plug patents
Cementing Plugs & Well Cementation | Rotating & Non Rotating Cementing
rigidcentralizer.com
cementing plugs plug sizes special any
Used RICHARDS 11-2428 Buck Femoral Cement Restrictor Inserter O/R
www.dotmed.com
richards buck inserter restrictor cement femoral 2428 dotmed instruments bite nephew elite pass smith
Cement Plug - Cementing Plug Rotating -SH16 Manufacturer From Faridabad
www.sledgehammerindia.com
plug cement cementing sh16 rotating
China Cementing Plug Conventional Type Manufacturers, Suppliers
www.chinascreenpipe.com
cementing
Cement Plug | Cementing Tool | RUNDONG
www.oildrillingcn.com
plug cementing cement wiper spec api tool
Cement Plug | Cementing Tool | RUNDONG
www.oildrillingcn.com
plug cement cementing
Cementing Plugs & Well Cementation | Rotating & Non Rotating Cementing
cementretainer.com
cementing plugs retainer
PTE Plus Co.,Ltd. บริษัท พีทีอี พลัส จำกัด: Oil And Gas Exploration
www.pteplus.com
plug cementing drilling cement oilfield oil locking self well plugs gas china core
Top & Bottom Cementing Plugs Reduce Drill Time And Save Costs
www.drinol.com
cementing plug plugs conventional bottom standard cp cs
DePuy Cement Restrictor Inserter/Introducer
a-zortho.com
cement restrictor depuy inserter introducer reamer trephine screw
2 legacy tubeless tire repair tool kits plugs cement rasp insert patch. Patent us5383932. Plug cementing tool cement
